|
Volume and Surface Area
for Composed Boxes
Volume and Surface Area of a
right rectangular prism (a box):
Vbox = l • w • h
SAbox = 2lh + 2hw + 2lw
V = volume in cubic units;
SA = surface area in square units;
l = length, w = width, h = height. |
|
|
|

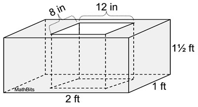
1. a) Find the volume of the figure at the right which is composed of right rectangular prisms in cubic feet.
Solution:
Find the volume of each right rectangular prism (box) and add the volumes together.
• Large box: (6.5)(4.8)(5.2) = 164.24 cubic feet
• Small box: (4.2)(2)(2.5) = 21 cubic feet
• Total volume: 164.24 + 21 = 183.24 cubic feet |
|
b) Find the surface area of the figure in square feet.
Solution:
Large Box: SA = 2lh + 2hw + 2lw (SA, h, w and l are surface area, height, width and length)
SA = 2lh + 2hw + 2lw = 2(6.5)(5.2) + 2(5.2)(4.8) + 2(6.5)(4.8) = 179.92 sq.ft.
Small Box:
SA = 2lh + 2hw + 2lw = 2(4.2)(2.5) + 2(2.5)(2) + 2(4.2)(2) = 47.8 sq.ft.
The bottom of the small box is not a "surface" so subtract the area of that side from the surface area of BOTH boxes. Bottom area: 8.4 sq.ft.
Total surface area: (179.92 - 8.4) + (47.8 - 8.4) = 171.82 + 39.4 = 210.92 sq. ft. |

2. Ten colored boxes of the same size are stacked as shown. Each box is a cube measuring 2 feet on each side.
a) Find the total volume of this stack in cubic feet.
Solution:
• Volume of each box is 2 • 2 • 2 = 8 cubic feet.
• Volume of 10 boxes is 10 • 8 = 80
cubic feet.
b) Find the surface area of this stack in square feet.
Solution:
• Area of each face of a box is 2 • 2 = 4 sq. feet.
• Top of each column: 4 • 4 = 16 sq. feet
• Front (and back) facing: 2(10) • 4 = 80 sq. feet
• Back end view: 4 • 4 = 16 sq. feet
• Front end view: 4 • 4 = 16 sq. feet
• Bottom of stack: 4 • 4 = 16 sq. feet
• Total surface area = 144 square feet |

Each box is a right rectangular prism.
A cube is a right rectangular prism whose length, width and height are of equal measure.
|

3. a) Find the volume of this solid, composed of a right rectangular prisms, in cubic inches.
Solution:
• Visualize a horizontal line on the right side of the figure forming three boxes. Find the volume of each of the boxes.
|
|
• Large Bottom Box: V = 9 • 17 • 3 = 459 cubic inches
• Medium Top Box: V = 9 • 7 • 3 = 189 cubic inches
• Small Middle Box: V =
4 • 6 • 1 = 24 cubic inches
Total Volume = 459 + 189 + 24 = 672 cubic inches
b) Find the surface area of this solid, in square inches.
Solution:
• Find the surface area of each of the boxes, then adjust for overlapping.
• Large Bottom Box: SA = 2lh + 2hw + 2lw = 2(9)(3) + 2(3)(17) + 2(9)(17) = 462 sq. in.
• Medium Top Box: SA = 2(9)(3) + 2(3)(7) + 2(9)(7) = 222 sq. in.
• Small Middle Box: SA = 2(4)(1) + 2(1)(6) + 2(4)(6) = 68 sq. in.
You must deal with overlapping sections.
• The bottom of the medium top box and the portion it covers on the large bottom box must be subtracted. 2(7)(9) = 126 sq.in.
• The
bottom and back portion of the small box and portion where it covers the other boxes must be subtracted. Bottom: 2(4)(6) = 48 sq.in. Back side: 2(1)(4) = 8 sq.in.
Total Surface Area = 462 + 222 + 68 - (126 + 48 + 8) = 570 square inches |


NOTE: The re-posting of materials (in part or whole) from this site to the Internet
is copyright violation
and is not considered "fair use" for educators. Please read the "Terms of Use". |
|
|